航空の未来?ロールス・ロイス、水素エンジンシステムの特許を申請
推進技術は、ピストン エンジンから現在のターボファン ジェット エンジンの時代に至るまで、過去 1 世紀にわたって着実に進化してきました。しかし、イノベーションは常に舞台裏で行われており、業界は水素を主な燃料源として使用する新しい形式の推進力を導入しようとしている可能性があります。エンジンはすでに何年にもわたって開発されていますが、広く商業利用できるようになるまでにはまだ長い道のりがあります。
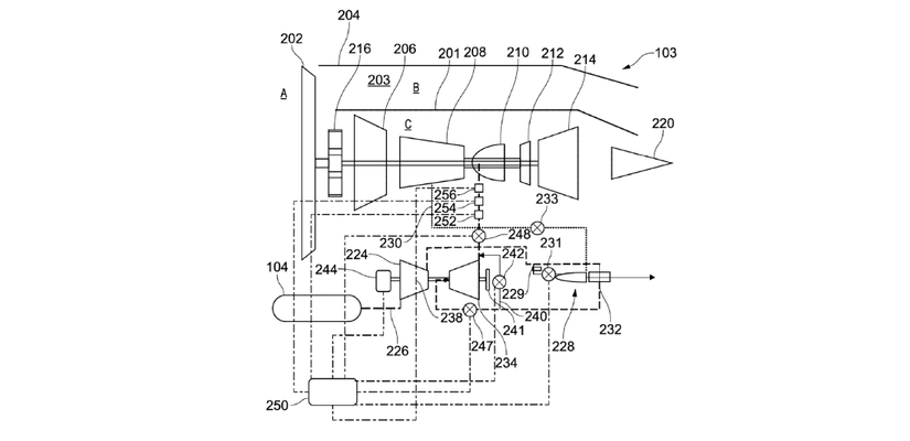
大手エンジンメーカーは独自の水素エンジン設計を追求しており、最近、水素燃料を燃焼するように構成されたガスタービンエンジン用の燃料システムの特許を取得しました。水素発電へのこの新しいアプローチは、液体水素を燃料源として使用する際の主要な問題の 1 つである極低温の解決に役立つ可能性があります。ロールス・ロイスのアイデアは、水素燃料がエンジンに到達する前に燃料タービンを使用して水素燃料を加熱し、より安定した燃焼プロセスを作り出すことです。
ロールス・ロイスが新しい水素燃焼システムの特許を取得

特許出願によると、同社の新しい燃料システムには燃料ポンプを備えた主燃料導管が含まれており、「燃料導管内で水素を作動させてガスタービンエンジンのコア燃焼器に加圧燃料を供給するように構成されている」という。また、水素燃料の一部を燃焼させて残りの燃料を加熱する補助燃焼器も備えています。言い換えれば、燃料を予熱するために主燃料導管から少量の水素を迂回させる自立型システムになります。
水素は理論的には最もクリーンな燃料源の 1 つですが、実際には航空機に実装するのが最も困難な燃料源の 1 つです。これは、水素は従来のジェット燃料に比べて大量の貯蔵が必要であり、航空機の設計や空港インフラに大きな問題を引き起こすためです。液体水素も超低温で保管する必要があり、より揮発性の高い燃焼プロセスを経ます。
ロールス・ロイスが提案したシステムは、制御された効率的な燃料供給アーキテクチャを提供することで、これらの問題の両方を解決するのに役立ちます。水素燃料電池は実用化可能性がはるかに高いことが示されていますが、水素燃焼となると話は別です。液体水素は -253°C で保管する必要があるため、航空機には安全に保管できる断熱燃料タンクが必要です。しかし、ジェット燃料に比べて密度が低いため、これらのタンクは従来のタンクよりも多くのスペースを占めることになり、航空機設計者にとっては頭の痛い問題となっています。
次の10年までに小型および中型の航空機?

何年にもわたる厳密な開発とテストは今後も続くため、水素燃料を燃料とするシステムがすぐに大型民間航空機に搭載されることは期待できません。この技術は、大型旅客機にスケールアップする前に、まず小規模なプラットフォームで成熟する必要があります。ロールス・ロイスはこの分野の先駆者の 1 つであり、飛行試験に進む前に包括的な試験を実施しています。
同社は、2030年代半ば以降に中小型航空機に動力を供給できる水素燃料エンジンを準備することを目指しているが、道のりはまだ長い。同社はすでに 20 年を費やして、電池電力の代替として水素燃料電池を使用するなど、さまざまな水素動力のコンセプトを検討してきました。 10 年代の終わりまでに軽飛行機から始まり、2030 年代半ばまでに 30 ~ 40 人乗りの航空機が世界的に導入されることが予想されます。
ロールス・ロイスの水素とガスタービン技術の組み合わせは、より革命的になるだろうが、エンジンメーカーは、水素燃焼の複雑さのため、これはおそらく小型航空機でのみ実行可能であると信じている。ロールスロイスによると、
「水素はガスタービンの燃料として直接使用することもできますが、航空機の航続距離が短い短距離セグメントから始まる可能性が高いです。水素の貯蔵に伴う量の制限と燃料電池の出力密度の制限を考慮すると、長距離ではSAF燃料供給ガスタービンが今後も最も可能性の高いソリューションになるでしょう。」
業界はクリーン燃料としての水素に注目

水素を燃料電池で使用すると二酸化炭素の排出がゼロになるため、業界にとっては非常にうらやましい可能性があります。航空会社と空港は二酸化炭素排出量を削減するという大きなプレッシャーにさらされているが、ジェット燃料に比べて将来的にはコストが低くなる可能性があることは明らかなプラスポイントである。業界が二酸化炭素排出量実質ゼロを達成するという 2050 年の目標を設定する中、水素は最も有望な技術の 1 つとして注目されていますが、純粋な水素を燃料とする航空機の開発ははるかに困難です。
その代わりに、水素と他の燃料システムを組み合わせることが最も実現可能な選択肢であると思われます。水素電気エンジンはすでに就航の目前にあり、ゼロアビアのような一部の主要関係者は、早ければ2028年にも地域航空機への参入を目標にしている。
| プログラム |
サイズ・種類 |
容量 |
目標エントリー日 |
|---|---|---|---|
| ゼロアビア (ZA600) |
地域/小型ターボプロップ |
乗客数 10 ~ 20 人 |
2026 年半ば |
| ゼロアビア (ZA2000) |
地域/ターボプロップ |
乗客数 40 ~ 90 人 |
2027年 |
| エアバス ゼロe |
民間旅客機 |
乗客数は200名まで |
最近遅延しました |
| ユニバーサル水素 |
地域ターボプロップ |
乗客40名 |
2026 ~ 2027 年 |
| H2FLY |
地域航空機 |
乗客数 30 ~ 40 人 |
2025 年半ば |
EUのホライゾン・ヨーロッパ・プロジェクトは、ロールス・ロイスの水素研究に投資を提供しており、水素燃焼試験を進めるために必要なエンジニア、科学者、専門試験装置が対象となっている。この取り組みはすでに大きく進展しており、ロールス・ロイスは水素ガスタービンの本格的な地上試験を開始しようとしている。ロールス・ロイスは、より効率的で炭素に優しい推進力を開発するためのさまざまな技術を研究している EU のクリーン・アビエーション・イニシアチブにも参加しています。具体的には、キャベンディッシュこのプロジェクトは、「航空エンジン デモンストレーションと水素による航空機統合戦略の到来のためのコンソーシアム」の略称で、水素を航空燃料として検討しています。
水素の航空未来は不透明

水素はゼロエミッション燃料として大きな期待を寄せられていますが、世界規模での利用が拡大する可能性について業界関係者はさまざまな立場をとっています。水素の使用と貯蔵という航空機設計の課題に加えて、もう 1 つの主要な障害は、水素をサポートする世界的なインフラの欠如です。現在、利用可能な水素の生産レベルは非常に低く、インフラを拡大するには多額のコストがかかります。結局のところ、空港やエネルギー会社は、需要が実現しない場合にインフラに数十億ドルを投資することに確信を持っていない。
エアバスは最近、ZEROeプログラムの延期を発表し、目標としていた2035年の参入日を5~10年遅らせる可能性があることを示唆した。同社はエアバスA380を水素エンジンのテストベッドとして使用する予定だったが、現在はこれらのテストを中止している。エアバスは 2020 年に ZEROe プロジェクトを立ち上げ、燃料電池の設計に落ち着く前に、いくつかの異なる可能性を検討しました。エアバスはこう言った。
推奨読書:エアバスがビジネスクラスの座席を再考する特許を申請: 期待されること
「水素は、航空にとって革新的なエネルギー源となる可能性を秘めています。しかし、インフラ、生産、流通、規制枠組みを含む水素エコシステムの開発は、世界的な協力と投資を必要とする大きな課題であると私たちは認識しています。」
英国民間航空局(CAA)は、航空業界の脱炭素化ソリューションに資金を提供する取り組みである水素チャレンジを拡大することを明らかにした。ほとんどの開発者の共通認識は、水素は即時の代替燃料ではなく、従来の燃料を小規模に補完するものであり続けるということです。これにより、水素はハイブリッドシステム内で有用となり、電気燃料または持続可能な航空燃料と組み合わせて、世界の航空機の排出量を削減します。
大型旅客機は水素で運行できるのか?

今後数年間で水素電気の地域航空機の人気が急速に高まるだろうが、その技術が大型旅客機に搭載できるかどうかという疑問は依然として残っている。航空分野における水素の将来に懐疑的な人々は、水素は従来のジェット燃料よりも多くのスペースを占有し、長距離飛行には非現実的すぎると考えている。これは、オペレータがより大きな燃料タンクに対応するために航続距離または容量のいずれかを犠牲にしなければならないことを意味します。
ロールス・ロイスは、水素貯蔵の技術的複雑さのため、大型民間航空機、特にワイドボディーに燃料を供給する実現可能性には疑問があることを認めた。これには、灯油を燃料とするジェット機と同じ距離を飛行するために必要な追加の燃料を収容するために、根本的に異なる航空機の設計が必要になります。
メーカーがこの問題を解決できるかどうかはまだ分からない。このような航空機を安全に製造することは可能かもしれないが、乗客定員や航続距離が犠牲になる可能性が高い。
グリーン水素製造に関する懸念は依然として残る

水素は燃料として使用されるときに水蒸気のみを放出しますが、これはその使用が完全にカーボンニュートラルであることを意味するわけではありません。これは、水素が石炭やガスなどの汚染のある方法で製造される可能性があり、業界の脱炭素化の取り組みに貢献しないためです。
グリーン水素は、風力、太陽光、水力などの再生可能エネルギー源からの電力を使用して達成される、最もクリーンな水素製造形態です。ロールス・ロイスが言うように、「再生可能エネルギー源を使用して製造された水素のみが真のカーボンニュートラルである」が、現在使用されている水素のほとんどは石炭とガスを使用して製造されています。
また、グリーン水素の現在のコストは化石燃料の生産よりも大幅に高いため、十分な生産をサポートするインフラを構築できるかどうかは依然として不明である。国際エネルギー機関 (IEA) p緑色の水素を予言する2035年までに1kgあたり1.50~2ドルに達し、ジェット燃料価格との競争力が高まる可能性があるが、それには現在の生産能力の大幅な増強が必要となる。
Subscription
Enter your email address to subscribe to the site and receive notifications of new posts by email.
